Posted on 12/15/2025 7:01:50 AM PST by Red Badger

Ferrari is exploring radical oval pistons that could shrink engines, boost efficiency, and reinvent how high-performance gas motors are designed for the next generation.
===============================================================
Key Points
* Ferrari patents oval, or "stadium-shaped," pistons to replace traditional circular designs.
* The design could significantly shorten engines while maintaining displacement and cylinder count.
* Oval pistons could also lower frictional losses, improve combustion efficiency and lead to engines that "breathe" better.
===============================================================
Breaking Away from Tradition
For as long as internal combustion engines have existed, pistons have been round. This wasn’t necessarily because circular shapes were optimal for performance. It was simply the easiest and most cost-effective geometry to manufacture with the machinery available when engines were first being developed. Manufacturing technology has evolved dramatically since then, yet piston design has remained stubbornly circular.

Ferrari oval piston patent rotating assembly
Ferrari’s European patent application, published in March this year, proposes something different. The company has filed protection for what engineers call a stadium shaped or pill shaped piston design. Instead of the traditional cylindrical form, these pistons are oval with elongated sides, or rectangles with semi-circular ends. Nothing says how serious Ferrari is about the internal combustion engine’s future than a complete reimagining of fundamental engine architecture.


Ferrari oval piston patent single piston. Ferrari oval piston patent pair of pistons
How Oval Pistons Switch Things Up
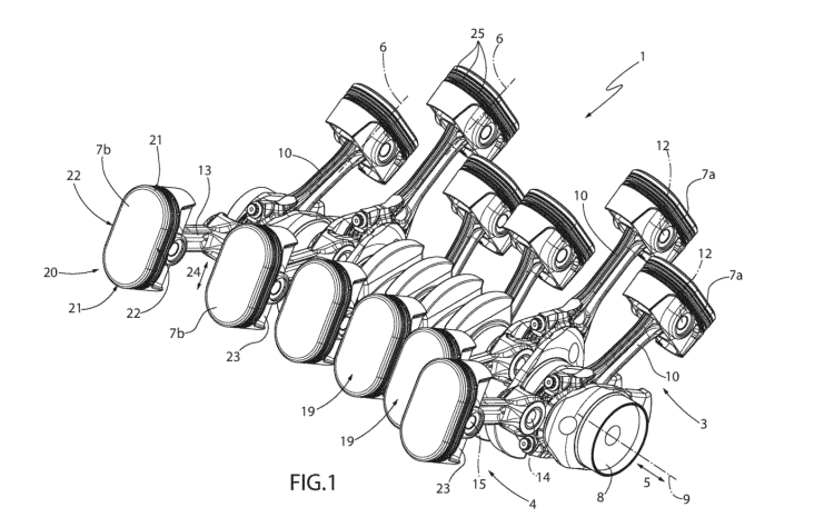
Ferrari’s key innovation lies in the orientation. The long side of each oval piston lies perpendicular to the crankshaft. This arrangement allows the short dimension of the piston to run parallel to the crankshaft, which means the entire engine becomes significantly shorter from front to back.
This matters enormously for packaging, especially in engines with many cylinders. A V12 engine using conventional round pistons requires substantial length to accommodate all twelve cylinders. Ferrari’s oval design could compress the footprint considerably while maintaining the same displacement and cylinder count, possibly even with a hybrid unit. The patent also describes using shared connecting rods via a multi-link system for pistons on opposite banks, further reducing the engine’s overall size.
Ferrari isn’t the first to experiment with oval pistons. Honda attempted something similar with its NR500 motorcycle racing engine in the ‘70s and ‘80s, but oriented the pistons differently with the long axis parallel to the crankshaft. The ellipse piston design was also more complex, and Honda faced issues with the precise machining of piston rings, creating the required combustion chamber sealing and eventually high-rpm failures.


Ferrari oval piston patent cross sectional
More Than Just Space Saving
As packaging constraints tighten and efficiency demands increase, engineers must find creative solutions to maintain power output without building physically massive engines. Exotic configurations like Bugatti’s W16 have addressed this problem through clever cylinder arrangements, but Ferrari’s approach attacks the issue at an even more fundamental level by rethinking the piston itself.

2018 Ferrari 488 GTB
The benefits of oval pistons are potentially more than just space-saving. Depending upon how the oval shape is implemented, there is great potential for improved combustion efficiency, lower frictional losses, and better thermal management. Given the increased surface area of the piston, there’s also scope for increasing valve surface area through more valves, which would allow the engine to breathe better. On the flip side, manufacturing complexity and cost will shoot up, considering a switch to oval pistons is like reinventing the wheel.
Whether this patent ever materializes in an actual Ferrari engine remains to be seen. But the very existence of this filing suggests Ferrari is actively exploring ways of rethinking internal combustion engine architecture for the better, which is good news for enthusiasts hoping to see them around for decades to come.
===================================================================
About the author
Simran Rastogi News Editor, Autoblog
Simran Rastogi is an automotive journalist with over a decade of experience writing and road testing for leading Indian and international outlets, including OVERDRIVE, India Today, and HotCars. Passionate about both modern and classic cars, he combines deep research with engaging storytelling to make automotive content accessible to all audiences.
Go Pistons!
ENGINE PING!................
How would you rebuild?
But is it a ‘HEMI’?.........................
If you can afford a Ferrari, you let someone else worry about that!..............
Great potential for improved combustion efficiency.
Hemispherical combustion chamber was invented for that reason don’t believe Ferrari will gain much if any ground over that.
Any one remember the Wankel engine from 50 years ago? Supposed to be the up and coming new engine design!
My hemi works just fine for me. 😂👍
Nice post. Thx for taking the time RB.
My pleasure!.............😁
I recall those engines had some cooling issues and were short-lived. ‘90’s was a great period in bike racing.
If the add TWO sparkplugs per cylinder, one on each end you could get more complete combustion!..............I
https://en.wikipedia.org/wiki/Dual_ignition
New again. It’s been done before.
Actually the first tried it in the 1970s
Yes, they mention that in the article..........
False. Cylinder bores have been round. Pistons are slightly elliptical to accommodate thermal expansion.
The benefits of oval pistons are potentially more than just space-saving. Depending upon how the oval shape is implemented, there is great potential for improved combustion efficiency, lower frictional losses, and better thermal management
complexity is a problem in it self. Lots of innovation in the past but simplicity seems to win.
but it is good to explore.
Wasnt that like a nearly indestructable engine? Or was that some other engine im thi king of?
Disclaimer: Opinions posted on Free Republic are those of the individual posters and do not necessarily represent the opinion of Free Republic or its management. All materials posted herein are protected by copyright law and the exemption for fair use of copyrighted works.