Posted on 09/23/2024 1:19:26 PM PDT by Red Badger

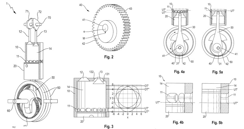
The patented engine design features a special crankshaft that adds more power and compression strokes to the cycle.
=================================================================
Porsche has revealed a strange (and possibly brilliant) idea for a six-stroke combustion engine. If you don't know the fundamentals of an internal combustion engine, we'll try to keep this simple. If you do know how engines work ... we'll still try and keep it simple.
With very few exceptions every combustion-powered car uses a four-stroke engine: intake, compression, power, and exhaust. The intake stroke is where air and fuel come into the cylinder. Compression is when the piston pushes that mixture to the top of the cylinder. The mixture is ignited, shoving the piston back down for the power stroke. Exhaust is the final step, pushing the remaining gas out of the cylinder.


Porsche designers reckon they can add another compression and power stroke to this process. Documents filed with the US Patent and Trademark Office specifically describe this as "six individual strokes that can be divided into two three-stroke sequences." The added steps would occur between the traditional power and exhaust stroke. The first sequence, then, would be intake-compression-power, followed by compression-power-exhaust.
To do this, Porsche's patent shows a crankshaft spinning on a ring with two concentric circles—an annulus. This alternates the center point of rotation, effectively lowering the piston's travel (bottom dead center) slightly for the added strokes. That in turn changes the compression, since the piston isn't traveling as far up (top-dead-center) in the cylinder. And that also means this engine has two top and bottom dead centers.
Why all the complexity? In short, this design has the potential to generate more power with better efficiency. In a typical engine, only one stroke in four actually makes power. This changes the formula to one stroke in three, and it also burns up the mixture more thoroughly. Of course, the downside is added complexity. Whether the gains are enough to justify the design remains to be seen.
As with many patents, it's possible this could never see the light of day. It's certainly an interesting idea, but perhaps more importantly, it suggests Porsche is working very hard at finding ways to keep combustion engines alive amid the push for electric power.
I agree. Timing chains almost never broke or wore out. Which is the way it should be.
Ever listen to an engine with the exhaust manifold off or with a bad muffler? That loud sound is caused by high pressure air suddenly being released to the atmosphere while it still contains a lot of energy.
Optimally, the exhaust gas should be at the same pressure as atmospheric pressure, which would mean every last bit of expansion was wrung out of the burning volume of gas.
The fact that it makes a loud popping sound when the exhaust port opens tells us that we are wasting energy. We are releasing the gas with perhaps a pressure of around 100 PSI.
So yeah, getting further expansion out of an engine would increase efficiency. There have been several schemes to accomplish this going all the way back to the late 1800s. The "Atkins cycle" comes to mind. I think the "Miller Cycle" is another.
It's about power density. People want a *LOT* of power out of their engines. When these engines were being developed, power was more important than efficiency, so they use more fuel to get that power at the expense of efficiency and engine size.
The fact engine exhaust is hot tells us it still has a lot of energy left in it, but we just allow it to blow out the exhaust pipe because to expand it further would take a bigger engine with a longer expansion stroke.
Internal combustion engines have always been a compromise. What most people want is power density, so that's mostly what manufacturers have been building.
That's what I thought too. But modern automobiles are already very efficient. So I looked up another article - this one doesn't explain it well - and it turns out in the second power stroke, it does add (inject) some additional fuel. So the second stroke isn't just burning leftovers from the previous stroke. Their tests must show that the total power from burning fuel over two strokes is more efficient than just one. No doubt that the fuel trims are very precisely calculated by computer.
While true that timing chains can far outlast timing belts, and most can last the lifetime of the engine, many manufacturers introduced plastic timing chain guides that do wear out just as fast as a timing belt, and do need replacing.
This includes the Ford 5.4 Triton engine.
The engine described does not have a power stroke on exhaust stroke, they are just compressing the exhaust gases before opening the exhaust valve.
No power is produced in the exhaust stroke in fact more work is needed to compress the already expanded gas resulted from the power stroke.
The only thing you can gain is increased power to the turbo- charger that will result in higher pressure intake air but it is not clear to me that the increased engine power resulting from the turbo air intake increase will be larger than the power it will take to increase the pressure of the already high pressure exhaust gas from the power stroke.
Or you can use that excess pressure to drive a turbine wheel that is connected to a compressor wheel to add additional air into the cylinder and allow adding more fuel and making more power from the same displacement.
The engineer’s credo is: “If it’s working it isn’t complicated enough.”
The French hold this more true than even the Germans.
Thanks. Those plastic chain guides drive me nuts.
Unless they added the Free Energy stroke and the Zero Emissions stroke the left won’t like it.
Looks like the Mazda rotary in duplicate. Cool.
an annulus? Can they say that on FR?
If it means noore electric cars than carry on. I’m mad at them for making the 718 electric.
engine timing is going to be a nightmare...
______________________________________
Too complicated for this old mechanic to appreciate. It looks like a nightmare to work on. The whip lash on that long timing chain at high rpm should be interesting to observe.
On high rpm, the opening of the exhaust valve before bottom dead center while certainly wastes some explosive energy, it also starts the exhaust gas moving, while the piston is going down, setting up a flow into the exhaust, which continues while the piston comes up, and then over top dead center, the flow sucks the chamber clean and brings in new mix during the overlap.
Waiting until the pressure is equal will take more work to get the gas moving out, and also result in incomplete evac, and also generate less vacuum at the exhaust port as the expanding exhaust gas is much slower in getting down the exhaust header.
It's that accelerated movement of the exhaust gas that helps get itself out of the way, and letting out earlier, while there is energy of expansion still going on contributes.
On the other side, most of that expansion past 90 degrees of connecting rod relative to the crankpin and the center of rotation of the crankshaft has less production of thrust, so it contributes far less to the down pressure on the piston.
Also, with high rpm, there simply is not enough time to get the gas out the way if waiting until BDC to open the ex valve.
“ Is there enough unburned fuel and oxygen in the cylinder after the first power stroke to even make a second power stroke”
There is quite a lot, but I don’t know the %.
That’s what the catalytic converter does and is why the output temperature of the converter is much higher than the intake.
exactly. could be a boon for the repair dept, however.
isn’t public education wondeful?
Isn't everything? Of course it is, and anyone who disagrees can sell you a unicorn.
I was interested in the new Chevy Trax and Trail Blazer...but I found out they use wet timing belt tech. Supposedly some of the belt disintegrates a bit...fouling engine oil..if looses teeth..mistiming can damage engine..
Who wants a disintegrating engine?
1.2 liter engine puts out 138 hp. The 1.3 L engines puts out 155 horses....not bad...but with a disintegrating timing belt?
Belts need to be replaced at about 50k miles...
Honda 2000s engines put out 124 HP (normal aspiration, dry timing chain)per liter..back in late 2000’s...about 148 for 1.2 l. Or 160 for 1.3 liter... Tech is there...
Disclaimer: Opinions posted on Free Republic are those of the individual posters and do not necessarily represent the opinion of Free Republic or its management. All materials posted herein are protected by copyright law and the exemption for fair use of copyrighted works.